Колонка газова АТЕМ ВПГ-20
Газова колонка проточного типу АТЕМ ВПГ-20
Газова колонка проточного типу АТЕМ ВПГ-20 - сучасна
побутова техніка. Водонагрівач розроблений для економічного та швидкого
приготування гарячої води для господарських потреб у приватних домоволодіннях,
квартирах, місцях громадського користування. Модель оснащена електричним
розпалюванням на батарейках. Таке конструктивне рішення дозволяє значно
економити витрати газу.
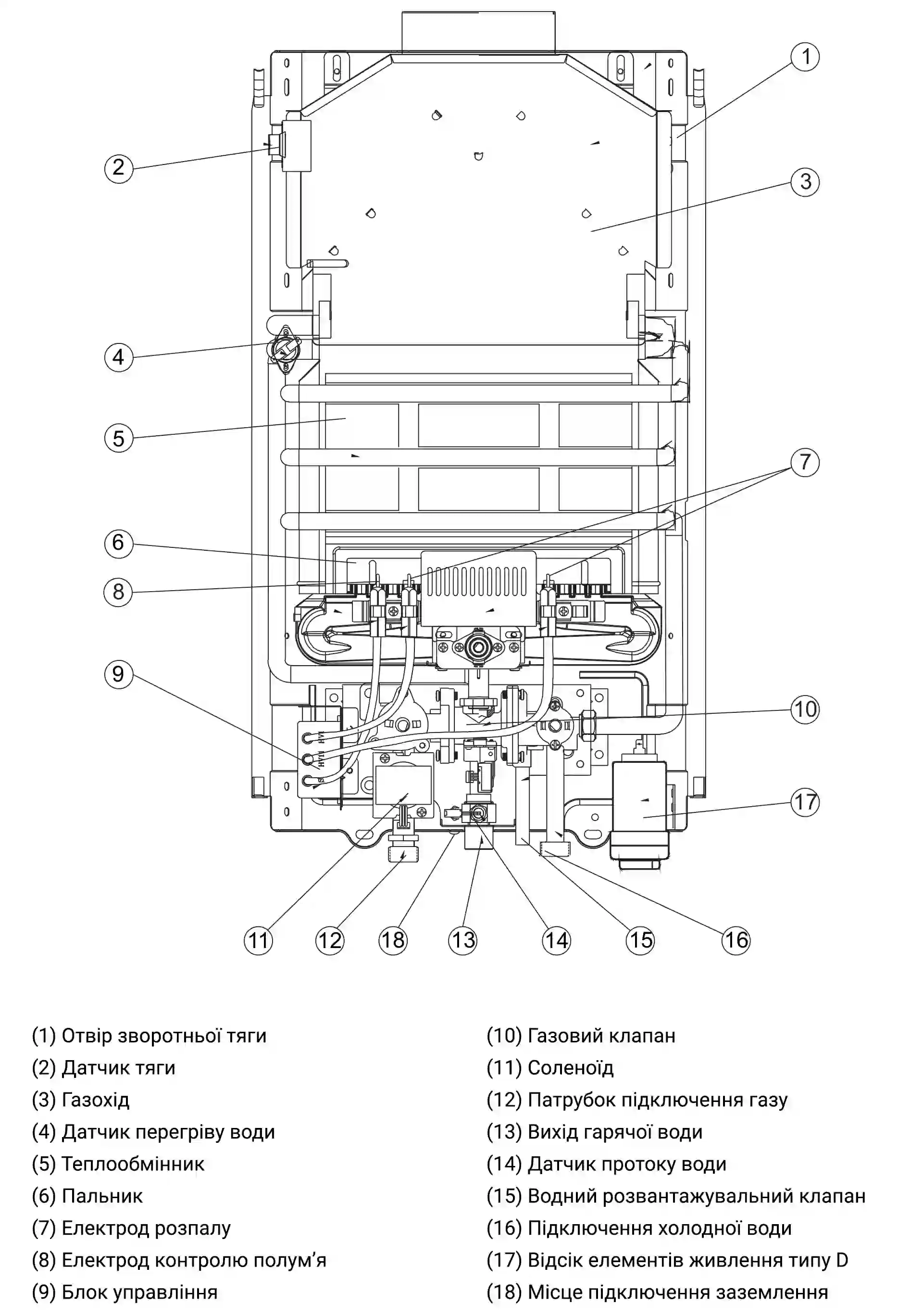
Особливості конструкції
Проточні газові колонки АТЕМ ВПГ-20 розроблені для
вертикального настінного способу установки. Випускаються у сталевому корпусі
прямокутної конфігурації. На металеву конструкцію нанесено порошково-полімерне
покриття, яке забезпечує підвищену стійкість котла до впливу несприятливих
зовнішніх факторів та покращує його зовнішній вигляд.
У нижній частині водонагрівача розташовані роз'єми для
підключення подачі газу, холодної води та виходу ГВП. У верхній частині
конструкції встановлений бор для під'єднання до стандартного димохідного
каналу.
Колонка газова АТЕМ ВПГ-20 має прогресивну систему горіння.
За рахунок іонізованого контролю полум'я та системи електронного розпалювання
пальника забезпечуються безпечні умови експлуатації. Полум'я у
водонагрівальному приладі спалахує лише при відкритті крана гарячої води.
Водонагрівач обладнаний прогресивною системою захисту. На
пальнику встановлено електрод контролю іонізації повітряного простору камери
горіння. Він автоматично відключить подачу газу у разі загасання полум'я.
Система електронного розпалювання укомплектована двома
великими батареями, які забезпечують енергонезалежне функціонування проточного
водонагрівача.
Газові водонагрівачі АТЕМ серії ВПГ-20 оснащені олово-мідним
теплообмінником пластинчастого типу. За рахунок застосування даного сплаву
забезпечується високий рівень ефективності забору тепла із газоподібних
продуктів згоряння та підвищена стійкість до утворення корозії.
Колонка обладнана системою захисту сухого горіння. При
відсутності протоки води автоматично вимикається подача газу.
Водонагрівач оснащений датчиком тяги, який контролює
наявність тяги в димарі. Спрацьовує пристрій безпеки при відсутності або
зниженні інтенсивності тяги, припиняється надходження газу на пальник.
Виключається потрапляння до приміщення газоподібних продуктів горіння, тому
такі колонки можна монтувати безпосередньо у житлових зонах.
Основні переваги
- Здійснює швидке нагрівання води, з продуктивністю до 10
літрів на хвилину.
- Встановлено термостат, який забезпечує високу точність
підтримання параметрів нагріваву води.
- Енергонезалежність, запалення полум'я за допомогою
автономного п'єзо-електроду.
- Датчик іонізації підтримує стабільність горіння пальника.
- Газовий проточний водонагрівач АТЕМ лінійки ВПГ-20 має ефективний захист теплообмінника від перегріву.














