Колонка газова АТЕМ ВПГ-20М
Газові колонки АТЕМ ВПГ-20М
Проточні газові колонки АТЕМ ВПГ-20М - сучасна побутова
техніка. Моделі розроблені для економічної та швидкої видачі гарячої води для
вирішення господарських потреб у квартирах, приватних домоволодіннях, місцях громадського
користування. Водонагрівач оснащений електричним розпалюванням на батарейках.
Надходження газоподібного палива та загоряння полум'я відбувається в
автоматичному режимі під час відкривання крана гарячої води, що забезпечує
економну витрату газу.
Особливості конструкції
Газова колонка бренду АТЕМ ВПГ-20М розроблена для настінного
монтажу. Випускається у сталевому корпусі прямокутної конфігурації. Стильна
декоративно-захисна оболонка закриває металеву конструкцію. На кожух нанесено
спеціальне порошково-полімерне покриття, яке підвищує його стійкість до впливу
несприятливих факторів довкілля.
У нижній частині корпусу розташовані роз'єми для подачі
газу, холодної води та виходу ГВП. У верхній частині встановлено бор для
підключення до стандартного димохідного каналу.
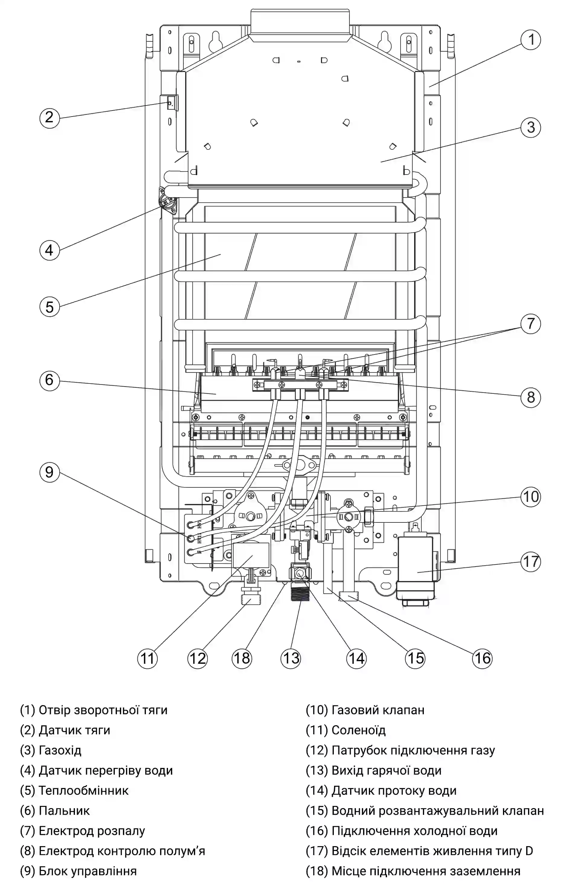
Проточний водонагрівач має прогресивну систему захисту. На
пальнику встановлено електрод контролю іонізації повітряного простору у камері
горіння. Він автоматично відключає подачу газу у разі загасання полум'я.
Газові водонагрівачі АТЕМ ВПГ-20М оснащені мідним
теплообмінником. За рахунок застосування мідного сплаву забезпечується високий
рівень ефективності забору тепла із газоподібних продуктів згоряння та
підвищена стійкість до утворення корозії.
Водонагрівач оснащений ефективним захистом від перекриття
димохідного каналу. Датчик тяги автоматично подає команду блоку управління на
перекриття надходження газоподібного палива на пальник під час припинення або
погіршення швидкості видалення газоподібних продуктів згоряння через димохід.
Таке конструктивне рішення виключає можливість поширення по приміщенню отруйних
димових газів.
Газовий проточний водонагрівач обладнаний панеллю
управління, яка складається з:
- Двох механічних регулювальних ручок з індикаційною шкалою,
за допомогою яких легко та зручно виконувати налаштування параметрів подачі
газу та води.
- LCD-дисплей дає змогу візуально відстежувати реальний
температурний режим нагрітої води.
Основні переваги моделі
- Енергонезалежність, запалювання полум'я забезпечує
автономний п'єзо-електрод, який функціонує від 2 батарейок типу D.
- Здійснює швидке нагрівання води, з продуктивністю до 10
літрів на хвилину.
- Встановлений мідний теплообмінник забезпечує високу
ефективність забору тепла із газоподібних продуктів згоряння.
- Датчик іонізації підтримує стабільне горіння пальника.
- Стильний дизайн.
- Компактні розміри.
- Безпечна експлуатація.
- Проточний газовий водонагрівач АТЕМ ВПГ-20М має ефективний захист теплообмінника від перегріву та замерзання.
















