Твердопаливний парогенератор Бізон низького тиску (до 0,5 Бар)


Твердопаливний парогенератор на дровах Бізон низького тиску – ефективне, просте в експлуатації, надійне теплогенеруюче обладнання тривалого горіння від відомої української компанії. Агрегат здатний забезпечити повноцінну роботу невеликих кондитерських, меблевих, пивоварних, фармакологічних підприємств, у технологічних процесах яких застосовується пара з тиском до 0,5 бар у великих обсягах. Головна перевага такого обладнання – висока економічність його застосування. Агрегати можна використовувати не тільки для вироблення пари, а й для утилізації відходів переробки дерева та сільськогосподарських культур.
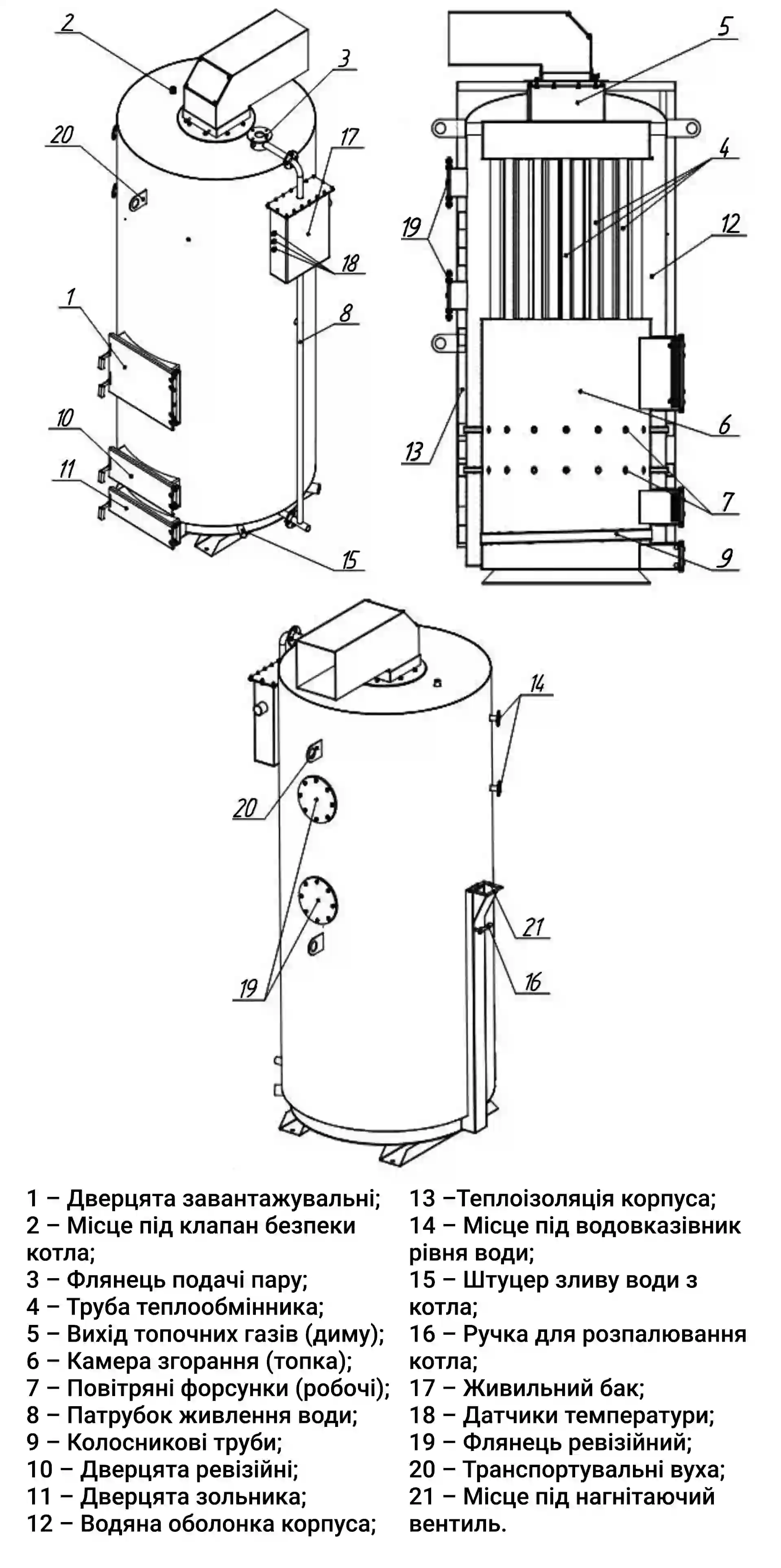
Особливості конструкції
Твердопаливні агрегати генерації пари низького тиску Бізон випускають у високому корпусі циліндричної форми. По вертикалі він поділений на дві зони:
- Нижню – область спалювання різного виду твердого палива.
- Верхню – конвекційну систему нагрівання води до газоподібного стану.
Промисловий парогенератор Бізон для зручної експлуатації обладнаний трьома дверцятами:
- Комфортного обслуговування жаротрубного теплообмінника та ємності з водою.
- Зручного завантаження різного твердого палива.
- Для видалення золи.
У жаротрубної конвекційної частини розташовано кілька рядів вертикальних труб, якими видаляються газоподібні продукти горіння. Така конструкція дозволяє ефективно нагрівати воду, що оточує трубну систему.
Застосування
- Харчова промисловість.
- На виробництві полімерів.
- Стерилізація та пастеризація різних видів продуктів харчування.
- У будівельній сфері.
- Для обігріву різноманітних об'єктів.
Твердопаливний парогенератор низького тиску Бізон експлуатаційні переваги:
- Номінальна потужність: 35, 65, 98, 120, 250, 350, 500, 700, 800, 1000 кВт.
- Парогенеруюча частина – жароміцна сталь завтовшки 6 мм.
- Основне паливо – дрова, вугілля, брикети, відходи деревопереробки.








