Твердопаливний парогенератор Бізон високого тиску (0,5 Бар-6 Бар)


Парогенератор на дровах високого тиску Бізон – затребуване обладнання в багатьох галузях промисловості, в яких для виконання технологічних процесів потрібна велика кількість пари. Знаходить широке застосування на деревопереробних підприємствах при виготовленні залізобетонних виробів, у сільськогосподарській сфері. Їх використовують для створення систем опалення та вироблення електроенергії. Твердопаливні парогенератори відрізняються універсальністю, їх виробляють із використанням інноваційних схем. Агрегати генерації пари функціонують на будь-якому твердому паливі різної вологості, на відходах переробки дерева та сільськогосподарських культур.
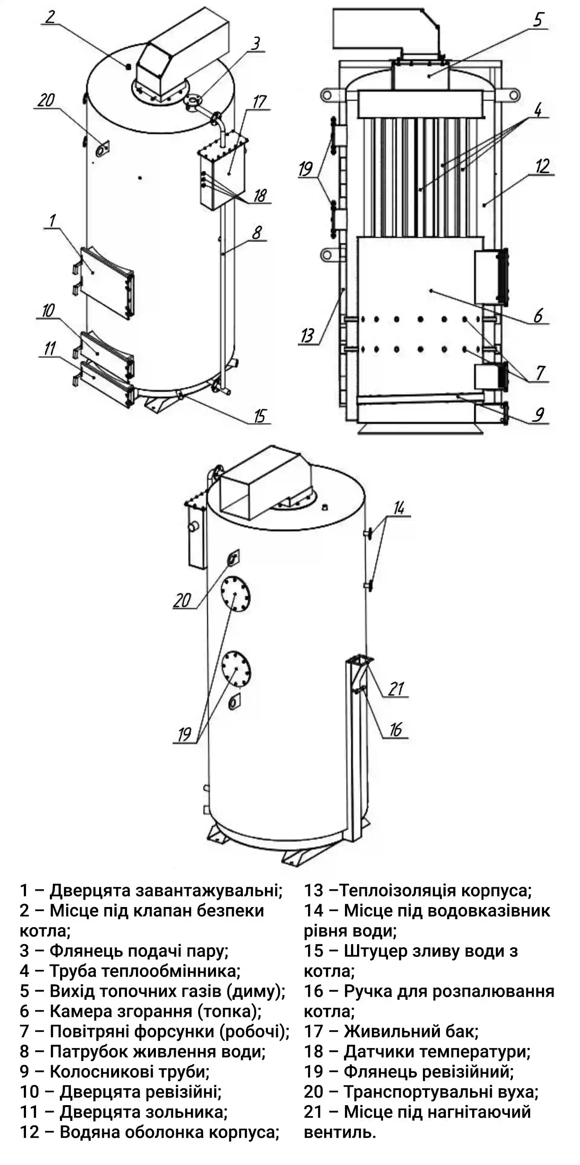
Опис конструкції
Твердопаливний агрегат генерації пари Бізон виготовлений у високому циліндричному корпусі. У його нижній зоні знаходиться велика камера спалювання для різного виду твердого палива. Для зручного завантаження дров, вугілля, тріски на фасадній стороні парогенератора встановлені широкі дверцята.
Газоподібні продукти згоряння видаляються з топки з використанням труб, які розташовані над топковою камерою у кілька рядів вертикально. Така жаротрубна конструкція проходить через спеціальну ємність із водою. Промисловий парогенератор Бізон здатний забезпечити ефективну генерацію пари високого тиску у великих обсягах.
Застосування
- Для пропарювання та сушіння деревини.
- Під час термообробки харчових продуктів.
- Для пропарювання зернових культур у процесі переробки на крупи.
- Під час сушіння залізобетонних виробів.
- Для обігріву великих будівель різного функціонального призначення.
- На виробництві електроенергії.
Твердопаливний парогенератор Бізон високого тиску технічні особливості:
- Номінальна потужність: 35, 65, 98, 120, 250, 350, 500, 700, 800, 1000 кВт.
- Основне паливо – дрова, вугілля, брикети, відходи деревопереробки.
- Парогенеруюча частина – жароміцна сталь завтовшки 6 мм.








